
咨詢熱線深13923499923
技術指標
1.口徑:1/4″~2 1/2″
2.壓力:150LB~4500LB
3.閥體材質:
碳素鋼 -50℃~425℃
合金鋼 -50℃~610℃
不銹鋼 -50℃~700℃
4.連接方式:對焊、承插焊、外螺紋、卡套等
5.適用介質:水、蒸汽及各種腐蝕介質
性能特點
1、閥體、支架均鍛造后固融處理,結構緊密無裂痕,耐高溫高壓效果優越;
2、閥座堆焊硬質合金司太立6號,高溫硬度達50HRC以上;
3、閥桿鍛造后取得了良好的抗拉強度和屈服強度,承受高溫高壓性能優越;
4、閥瓣為司太立8號整體鍛制而成,高溫硬度達HRG58以上,與閥座形成了合適的硬度差,互相配合后具有良好的抗沖
刷、抗氣蝕性能;
5、閱體內置閥桿導向座,閥門長期反復開關時,閥瓣回座率達100,保持了良好的密封性能;
6、變架上端置閥桿直升降裝置,閥門開閉時,閥桿的無旋轉直升降運動不僅減少了對填料的磨損,而且啟閉力小,手感輕松;
7、致密和回彈性優良的柔性石墨填料,確保閥門不外漏。
材質表

部件類別 | F91 | F92 | F316 | F321 | F22 | WB36 | F316H | F347H |
閥體 | F91 | F92 | F316 | F321 | F22 | WB36 | F316H | F347H |
閥座 | 司太立 | 司太立 | 司太立 | 司太立 | 司太立 | 司太立 | 司太立 | 司太立 |
閥瓣 | 司太立 | 司太立 | 司太立 | 司太立 | 司太立 | 司太立 | 司太立 | 司太立 |
閥桿 | F91 | F92 | F316 | F321 | F22 | WB36 | F316H | F347H |
支架 | F91 | F92 | F316 | F321 | F22 | WB36 | F316H | F347H |
填料 | 柔性石墨 | 柔性石墨 | 柔性石墨 | 柔性石墨 | 柔性石墨 | 柔性石墨 | 柔性石墨 | 柔性石墨 |
手輪 | 沖壓 | 沖壓 | 沖壓 | 沖壓 | 沖壓 | 沖壓 | 沖壓 | 沖壓 |
溫壓曲線圖

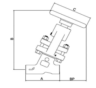
尺寸表
通經 | 結構長度A | 中心高B | 手柄長度C | 重量KG |
DN10/3/8’’ | 120 | 250 | 140 | 5.3 |
DN15/1/2’’ | 120 | 250 | 140 | 5.6 |
DN20/3/4/’’ | 135 | 280 | 140 | 5.6 |
DN25/1’’ | 150 | 380 | 200 | 8.5 |
DN32/1 1/4’’ | 150 | 380 | 200 | 8.3 |
安裝維護說明
1、產品出廠時已經嚴格檢驗,請勿解體,可打光譜,可試壓;
2、閥門盡可能按閥桿垂直水平面安裝,如需其他方法安裝,請說明;
3、安裝時應使介質流向與閥體所示箭頭方向一致,切勿裝反;
4、第一次使用時,須全開閥門,對閥門及管道進行清洗。調整壓板螺母,確保填料處于良好密封狀態;
5、運行中,當工況溫度變化較大(如停機維修)時,襝查并旋緊壓板螺母,壓緊填料。以防閥桿處外溫。

留下聯絡方式 客戶將電子版采購清單和聯系方式發送至郵箱:kentuo@ctrok.com,或來電咨詢 0755-2104-8717
選型與報價收到客戶采購清單,銷售顧問會第一時間為客戶選型與報價。
電話溝通相關事宜 電話溝通商定:交貨期、特殊要求等事宜。